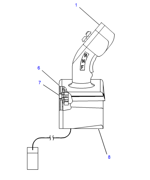
1086964 دسته جوی استیک 988F
[ CONTROL GP-STIC ]
1086964 دسته لیور ( جوی استیک )
کنترل لیور تعویض دنده دسته جوی استیک لودر کاترپیلار 988F
1598661
1774113
1361155
1170298
ماشین های سازگار
988F
988FII
فروشندگان این قطعه
در صورتی که فروشنده ای برای این قطعه وجود نداشت و یا اینکه مایل به دریافت پیشنهاد قیمت از سایر فروشندگان هستید میتوانید یک درخواست برای این قطعه ایجاد کنید


